Oggi è Martedi' 09/12/2025 e sono le ore 04:25:02
Nostro box di vendita su Vinted
Nostro box di vendita su Wallapop
Nostro box di vendita su subito.it
Condividi questa pagina
Oggi è Martedi' 09/12/2025 e sono le ore 04:25:02
Nostro box di vendita su Vinted
Nostro box di vendita su Wallapop
Nostro box di vendita su subito.it
Condividi questa pagina
Nostra publicità
Compra su Vinted
Compra su Vinted
#motociclismo #news #insella.it
Le nuove marmitte For Race 2 sono state completamente riprogettate con l’obiettivo di offrire il massimo in termini di prestazioni
Per togliersi delle soddisfazioni nell’enduro e nel motard ci vogliono motori con dei cavalli e pure un buon tiro in basso, cosa non semplicissima da ottenere quando si ha a disposizione una cilindrata di soli 50 cm³. Polini Motori vi dà una mano con le nuove marmitte For Race 2, completamente riprogettate con l’obiettivo di offrire il massimo in termini di prestazioni.
Sono destinati ai motori Minarelli AM6 e Derbi 50 a due tempi ed hanno una conformazione a serpentone, cioè passano alti così da non rischiare di toccare sotto nelle “pieghe†più accentuate o nei passaggi su fondi molto scabrosi. Il disegno è stato studiato in modo che si adattino ai telai dei principali marchi impegnati in questo segmento, così da rendere semplice il montaggio. I tecnici del reparto esperienze bergamasco li hanno progettati con l’attenzione ad ottenere una risposta pronta e un buon tiro ai regimi medi e alti.
Gli scarichi sono in lamiera di acciaio e sono dotati di un nuovo silenziatore finale in alluminio anodizzato nero con fondello ricavato dal pieno, smontabile per facilitare la sostituzione del materiale fonoassorbente; sul silenziatore e su uno scarico il logo Polini For Race inciso al laser.
Sono prodotti in sei modelli, per le moto di cinque costruttori: codice 200.0501 Fantic, codice 200.0503 Rieju, codice 200.0504 Derbi, codice 200.0505 Sherco, mentre per la Beta ci sono sia il codice 200.0506 (Beta ES) e che il codice 200.0507 (Beta E3/E4). I prezzi al pubblico partono da 268 € più Iva.
Sono perfette per chi vuole imparare ad andare in fuoristrada, ma risultano divertenti anche per chi ha già una buona esperienza
Quando parliamo di moto dedicate ai patentati con A2, si pensa subito a modelli facili rivolti a chi ha poca esperienza. Se però si passa alla categoria delle Adventure, il discorso in parte cambia: questi modelli vanno bene anche per chi ha esperienza e in fuoristrada ci sa andare ma è alla ricerca di un mezzo leggero e con prestazioni gestibili senza fatica. Ecco quindi cinque modelli guidabili con la patente A2, con cerchio anteriore da 21â€, pesi inferiori ai 200 kg, spiccate doti fuoristradistiche e... buon prezzo!
La 450 MTè uno dei modelli più interessanti del produttore cinese. Si tratta di una adventure spinta dal bicilindrico parallelo di 449 cm3 che ritroniamo anche sulla sportiva SR, sulla naked NK e sulla cruiser CL-C. Dotato di fasatura a 270 gradi e 47 CV di potenza massima, è inserito all’interno di un telaio in tubi di acciaio. Di qualità il reparto sospensioni, che vede unità Kayaba regolabili nell’idraulica e nel precarico, con forcella a steli rovesciati di 41 mm di diametro e monoammortizzatore con serbatoio separato. L’impianto frenante è firmato J.Juan e utilizza due dischi: 320 mm davanti e 240 mm dietro, con ABS disinseribile per la guida in fuoristrada. I cerchi sono a raggi: 21†l’anteriore e 18†il posteriore, con pneumatici leggermente tassellati. Il peso è di 173 kg a secco.
Prezzo: 5.990 euro f.c.
Sognare non costa nulla... per questo motivo abbiamo inserito in questa rassegna anche la Kove 450 Rally che ha un prezzo decisamente superiore rispetto a tutte le altre.
Si tratta però di un modello specialistico praticamente pronto gara, ma comunque adatta per imparare a guidare in offroad. È spinta da un motore monocilindrico di 449 cm3 accreditato di 42 CV a 8.000 giri/min., inserita in un telaio a doppia trave in acciaio, a cui quale sono abbinate una forcella a steli rovesciati di 43 mm regolabile nell'idraulica e un monoammortizzatore con link progressivo. L'escursione è da vera moto da rally, nella versione Hight è di 305 mm all'avantreno e 300 mm al retrotreno. Le ruote sono a raggi, l’anteriore da 21†e la posteriore da 18â€, con pneumatici tassellati rispettivamente 90/90 e 140/80. Il peso dichiarato è di appena 155 kg in ordine di marcia.
Prezzo: 9.690 euro f.c.
Anche la Casa di Trivolzio entra nel segmento con la ALLTRHIKE, una Adventure pensata per il fuoristrada anche impegnativo. È spinta da un bicilindrico in linea di 450 cm3, con 4 valvole per cilindro con una potenza massima di 44,2 CV a 8500 giri/min. Il telaio è a traliccio in acciaio, mentre il forcellone è in alluminio. Completamente regolabili le sospensioni, con forcella KYB a steli rovesciati da 41 mm di diametro ed escursione ruota di 210 mm e monoammortizzatore con escursione di 190 mm. L’impianto frenante vede un disco di 320 mm all’avantreno e uno di 255 mm al retrotreno, con ABS disinseribile. I cerchi sono a raggi da 21†l’anteriore e 18†il posteriore, mentre il peso è di 170 kg a secco.È disponibile in versione standard o "High Equipped" con paramani, sella e manopole riscaldate.
Prezzi: 5.890 - 6.140 euro f.c.
Si tratta di una adventure spinta da un bicilindrico parallelo frontemarcia con 47 CV di potenza massima, distribuzione a doppio albero a camme in testa, otto valvole, iniezione elettronica, raffreddamento a liquido e cambio a sei marce. Un’unità progettata sulla falsariga del twin parallelo di Honda, che equipaggia la gamma 500 della Casa dell’Ala. A livello ciclistico la Rieju Aventura sfoggia un telaio in tubi d’acciaio, abbinato a sospensioni con escursione di 190 mm: dietro un forcellone in alluminio con unico ammortizzatore centrale, davanti una forcella a steli rovesciati di 43 mm di diametro. I dischi freno sono a margherita: l’anteriore da 298 mm, il posteriore da 240 mm, entrambi con ABS. Le ruote a raggi montano pneumatici tassellati nelle misure 90/90-21†davanti e 150/70-18†dietro. Il peso è di 190 kg in ordine di marcia.
Prezzo: 7.920 euro f.c.
La Himalayan 450, fra le cinque, è la più essenziale nello stile e nell’estetica. È spinta da un monocilindrico raffreddato a liquido di 452 cc, con cambio a 6 marce, acceleratore ride-by-wire e due riding mode (Eco e Performance). La potenza massima è di 40 CV a 8.000 giri/min. Il telaio è una struttura a doppia trave in acciaio, su cui “lavorano†una forcella a steli rovesciati di 43 mm di diametro e un monoammortizzatore regolabile nel precarico, entrambi con 200 mm di escursione. L’impianto frenante è composto da un disco anteriore da 320 mm e uno posteriore da 270 mm. I cerchi sono a raggi: 21†l’anteriore e 17†il posteriore. Il peso dichiarato è di 196 kg a secco.
Prezzo: a partire da 5.900 euro f.c.
Kawasaki aveva sviluppato una meravigliosa 750 cm³ a due tempi quattro cilindri in quadrato stradale, ma le norme Usa sulle emissioni inquinanti cancellarono il suo sviluppo
Oramai di acqua sotto i ponti ne è passata tanta, ma non si finisce mai di scoprire storie interessanti. Dal Giappone rimbalza la notizia che all’inizio degli anni ‘70 la Kawasaki aveva sviluppato una meravigliosa 750 cm³ a due tempi quattro cilindri in quadrato stradale. Una bomba che rimase inesplosa a causa del Muskie Act statunitense, la legge sul controllo delle emissioni inquinanti: vennero introdotti limiti sui gas di scarico ritenuti troppo restrittivi per un motore a due tempi, al punto che nel 1973 la Casa di Akashi decise di abbandonare il progetto quando era oramai in dirittura di arrivo.
C'erano tre diverse moto allo studio, che avrebbero dovuto dare continuità al grande successo della Z1 900. Uno era una sei cilindri di 1000 cm³, un altro era caratterizzato dal motore Wankel che in quel momento aveva suscitato notevole interesse presso tutti i costruttori, il terzo era il mostro di 750 cm³ a due tempi quattro cilindri in quadrato; la stessa disposizione che negli anni successivi si sarebbe affermata tra le 500 da Gran Premio, con Suzuki.
Il motore di Hamamatsu però aveva l’ammissione controllata da dischi rotanti mentre in quello della Kawasaki era controllata dal movimento del pistone. Le due bancate, anteriore e posteriore, erano collegate da una catena e ruotavano nello stesso senso, e l’ordine di scoppio con gli alberi motore sfasati di 90° l’uno dall’altro portava a quattro fasi attive per ogni giro, garantendo una notevole fluidità di erogazione.
Un’architettura del genere porta però a difficoltà di collocazione dei carburatori, e per questo motivo ce n’erano due soltanto, e ognuno di essi alimentava una coppia di cilindri. Gli scarichi uscivano di fianco e confluivano in due marmitte, una per lato, entrambe con due uscite indipendenti. Si stava già considerando l’ipotesi di un’alimentazione a iniezione che per quei tempi sarebbe stata una scelta avanzatissima. L’avviamento era elettrico ma il motore era dotato anche di kick starter.
Gli ingegneri avevano già ottenuto una potenza rilevante, 75 CV, ed avevano già iniziato a sviluppare anche una versione da corsa, ma nel 1973 il progetto venne fermato.
Non ebbero fortuna nemmeno gli altri due studi: il motore Wankel aveva diversi problemi che portarono alla decisione di abbandonarlo, mentre il sei cilindri non aveva un temperamento grintoso conforme agli standard Kawasaki di quel periodo e fece la stessa fine.
Offrono percorsi in fuoristrada con differenti gradi di difficoltà e tanti servizi che rendono le giornate in sella alle bici elettriche ancora più divertenti. Ecco i migliori d'Italia
I bike park sono veri e propri parchi divertimenti per le due ruote a pedali, con percorsi caratterizzati da difficoltà crescenti identificate dai colori verde, blu, rosso e nero. Tracciati affiancati spesso da percorsi studiati per affinare tecniche specifiche o da itinerari escursionistici per pedalare in relax. In più offrono numerosi servizi, come il nolo di e-bike, caschi e kit di protezione, tour guidati, officine di riparazione e bike hotels con proposte su misura per i ciclisti. Qui sotto trovate una carrellata delle migliori strutture presenti lungo la Penisola: Amiata Freeride Bikepark, Mottolino di Livigno, Bike Park Val di Sole, Cimone Bike Park, Kronplatz Bike Park Brunico, Maggiora Bike Park, Sellata Trail Center, Vittoria Park.
Si pedala immersi nella faggeta Amiatina raggiunta tramite seggiovia o shuttle (20 euro circa) per poi scendere scegliendo uno dei 10 trail, comprese due “nere†impegnative, la Dirty Sanchez con passaggi tra rocce vulcaniche e l’Amante, 2 km di pura adrenalina. Per i piccoli c’è il Fun Park con tre linee (verde, rossa e nera), per i principianti l’8 Volante e la Froggy e per gli altri tracciati con crescente difficoltà e aree tecniche come la Jump e l’Hip Hop. Alternative apprezzate sono la vicina Pump Track di Castel di Piano, i tracciati escursionistici sui sentieri dell’Amiata e i bike tour lungo le strade bianche toscane pedalando sulle colline della Val d’Orcia o alla scoperta di borghi e mare della Maremma. I prezzi variano da 7,5 euro per una risalita ai 28 euro della giornata (23 per i junior), ma ci sono diverse opzioni da scegliere. Numerosi i servizi: dal nolo fino alla bike school.
amiatafreeridebikeresort.com

La struttura nel “piccolo Tibet†è tra le più apprezzate dai bikers nazionali e stranieri, in particolare da quelli che amano il downhill. A richiamarli sono soprattutto le piste estreme come la Black Eye, con pendenza del 31,9%, e la Sic58, già trail del Downhill World Championship. In alternativa ci sono altri 12 percorsi con differenti difficoltà , le linee speciali come la Jump Area e la Slopestyle Area e innumerevoli percorsi escursionistici immersi nella natura. Ottima la qualità dei servizi. Il giornaliero costa 40 euro, ma ci sono anche il mattiniero (29,50 euro), il pomeridiano (34 euro) e pacchetti all inclusive vantaggiosi.
www.mottolino.com

Paradiso dei bikers nel cuore del Trentino, con molti servizi bike friendly e 4 tracciati spettacolari, compresa la celebre “nera†Black Snake che dal 2006 è sede fissa della Coppa del Mondo di Mountain Bike. Altrettanto emozionante la Wilde Grizzly, pista “rosso-nera†riservata agli esperti, e le due suggestive rosse Golden Eagle e White Wolf. Oltre alle piste del bike park si può salire in telecabina da Commezzadura fino a quota 2.000 metri per affrontare il trail enduro o per ristorarsi nei rifugi Solander ed Orso Bruno. Per i meno esperti ci sono le ciclabili a valle e il vicino Bike Park Ponte Tonale. Il giornaliero è di 44 euro, ma si può risparmiare con il pass di 2 ore (33 euro) o il pomeridiano e il mattutino (39 euro). Sconti per Junior e bambini.
www.centrobikevaldisole.com
Nel cuore dell’appennino modenese c’è un comprensorio dedicato agli amanti degli sport invernali, del trekking e del ciclismo. Immerso nel Parco Regionale del Frignano, il bike park si snoda sulle pendici del Monte Cimone offrendo diversi percorsi con quattro livelli di difficoltà (facile, intermedio, medio-difficile e difficile) per un totale di 375 km di lunghezza. Si raggiunge con le seggiovie di Sestola e dal Lago della Ninfa o con gli shuttle con porta bici e comprende diverse infrastrutture per l’accoglienza turistica e per l’assistenza ai biker, nonché servizi come il noleggio di bici a pedalata assistita. Il bike pass di 27 euro (22 i ragazzi), scende a 19 per il mattiniero e a 18 per il pomeridiano. Disponibili anche pacchetti soggiorno interessanti.
www.cimonesci.it

Nel comprensorio del Plan de Corones nel cuore delle Dolomiti, il Kronplatz è immerso in uno scenario unico al mondo da godersi uno dei 18 trail raggiungibili dai 5 impianti di risalita che portano fino a 2.275 metri. Percorsi corti e lunghi (da 491 a 7.446 metri di sviluppo), con diversi livelli di difficoltà e differenti fondi artificiali e naturali per divertirsi nella modalità preferita. Per rilassarsi si può optare anche per i molti percorsi cicloturistici pensati per godersi la scenografia montana a ritmo lento. Possibilità di nolo, di corsi personalizzati e pernottamento in bike hotel. Il giornaliero costa 49 euro, ma ci sono pacchetti scontati per più giorni (incluso lo stagionale a 299 euro) e riduzioni per gli under 16.
www.kronplatz.com

Tempio del Motocross italiano con lo spettacolare circuito del “Mottaccio del Balmone†che ospita il MXGP of Italy, la struttura del novarese offre spazio e risorse anche agli amanti delle MTB. Ai percorsi dedicati a Trail ed Enduro all’interno del parco del Fenera si aggiungono tracciati specifici per praticare il dirt jump e lo slope style per tutti i livelli, due pump track e linee salti con drop, step-up e un big airbag. Si possono fare corsi tecnici, escursioni guidate e...un tuffo in piscina. Disponibile il noleggio di e-MTB. Per accedere è necessario sottoscrivere una tessera annuale di 10 euro e pagare l’ingresso giornaliero di 10 euro, con un extra di 5 euro per “volare†sull’airbag.
maggiorapark.com

È in Basilicata il primo bike park del Sud Italia. Situato all’interno del Parco Nazionale dell'Appennino lucano, offre oltre 100 km di tracciati immersi nella natura e 5 single track per gli amanti dell’enduro, del freeride e del downhill. Si va da percorsi escursionistici a piste con tratti tecnici e ripidi con fondo roccioso dedicate ai più esperti. Ci sono attrattive nelle vicinanze, come il “volo dell’angelo†nel borgo di Pietrapertosa e il percorso dei ponti tibetani di Sasso di Castalda. Proposte escursioni guidate a pedali, il nolo delle bici, lo shuttle per la risalita e altri servizi utili. Il giornaliero costa 30 euro, la mezza giornata 20 euro.
www.sellata.info

Più piccolo e con offerta inferiore alla concorrenza, il Park di Brembate (BG) si raggiunge con facilità dalle principali città del Nord Italia e offre tracciati tecnici artificiali dove testare la propria abilità . Ci sono la Pump Track con fondo ondulato e curve sopraelevate, l’Airbag Trick dove provare le tecniche di salto sicuri di un atterraggio morbido, la Bike Skill Area per apprendere le basi del freestyle, il Drop per imparare a fare i salti o l’Hard Uphill per avventurarsi in salita con la MTB. A questi si aggiungono i percorsi con fondo sassoso, pavé e ghiaia, il circuito gravel e quello dedicato alle bici da corsa. I prezzi partono da 14 euro per la mezza giornata infrasettimanale e arrivano ai 20 euro per il full day nel weekend. Molti i servizi presenti, inclusi il noleggio di e-bike, del casco e dei kit di protezione e corsi tecnici personalizzati.
int.vittoria.com

La Casa di Akashi ha rinnovato e migliorato modelli storici come Z650, Z900, Z900 RS, oltre alle maxi Z1100, Z1100 SE, ZX-10R ed RR. C’è poi il grande ritorno della KLE 500, offerta ad un prezzo parecchio interessante. Vediamole una per una
La “piccola†di Akashi si aggiorna per il nuovo anno introducendo svariate migliorie, a partire dalla posizione di guida. Le pedane sono state riposizionate, il manubrio rialzato e le nuove selle sono state progettate per incrementare il comfort: quella del pilota è più ampia e imbottita (+15 mm), mentre la seduta passeggero cresce di 20 mm in larghezza e 10 mm in spessore. Cambia anche l’estetica, con un design più muscoloso che riprende i tratti della sorella maggiore Z900, con frontale ridisegnato dotato di fari, indicatori e fanaleria full LED. Debutta anche un display TFT da 4,3†con luminosità automatica e doppia grafica per il contagiri, compatibile con l’app Rideology. Il motore resta il bicilindrico parallelo da 649 cm³, ora equipaggiato con controllo di trazione di serie e con un’erogazione rivista per enfatizzare la coppia ai medi. Il telaio a traliccio in acciaio è di nuova concezione, mentre la frenata è affidata a due dischi anteriori di 300 mm e uno posteriore di 220 mm, entrambi sorvegliati da ABS. Per tutte le caratteristiche vi rimandiamo al nostro articolo di presentazione.
La Kawasaki Z900 RS si aggiorna per il model year 2026 senza perdere il suo fascino neoretrò. Il quattro cilindri di 948 cm³ è stato ottimizzato per offrire maggiore fluidità ai bassi e una risposta più pronta agli alti, con un nuovo terminale di scarico e nuovi collettori. Tra le novità spiccano i corpi farfallati ride-by-wire, il cruise control e un pacchetto elettronico avanzato basato su piattaforma inerziale a sei assi, oltre al cambio elettronico bidirezionale. Confermata la ciclistica con forcella a steli rovesciati di 41 mm regolabile nell’idraulica e monoammortizzatore con leveraggio orizzontale. La frenata è affidata a pinze radiali che mordono dischi di 300 mm all’anteriore. Disponibile anche la versione SE, che si distingue per la sospensione posteriore Öhlins con regolazione remota del precarico, impianto frenante Brembo con tubi in treccia e una livrea dedicata ispirata alla storica Z1 “Fireballâ€. Tutte le caratteristiche le trovate qui.
Erede della mitica Z1000, la Z1100 SE 2026 si aggiorna sotto numerosi e differenti aspetti per restare al passo con i tempi e con una concorrenza sempre più agguerrita. Cuore del progetto è il quattro cilindri in linea di 1.099 cm³, propulsore cresciuto in cubatura grazie a una corsa più lunga di 3 mm rispetto a quello della Z1000 e a un volano più pesante per migliorare la spinta ai medi e la risposta alle richieste di potenza. Nonostante l’aumento di cubatura, i CV erogati sono però “solo†136 (6 in meno della sua antenata) a 9.000 giri. Cresce invece la coppia: 113 Nm a 7.600 giri. Non cambia rispetto alla Z1000 la ciclistica, con telaio in alluminio supportato da una forcella a steli rovesciati SFF-BP di 41 mm e da un monoammortizzatore posteriore con schema horizontal back-link. La novità più interessante riguarda l’arrivo della versione SE, arricchita da una tinta più aggressiva e accessori dedicati agli amanti della guida sportiva: impianto frenante Brembo con pinze monoblocco ad attacco radiale, dischi dedicati, tubi in treccia d’acciaio e monoammortizzatore posteriore Öhlins S46 con precarico regolabile da remoto. Sia su questa top di gamma che sulla versione base c’è una nuova posizione del manubrio, più avanzata di 13 mm e più larga di 22 mm, per esaltare il controllo e la connessione con il mezzo. Per tutte le caratteristiche tecniche ecco il nostro articolo di presentazione.
Per il 2026, la Kawasaki Ninja ZX-10R si evolve parecchio, migliorando l’elettronica, la ciclistica, le prestazioni e l’aerodinamica. Il cuore dell’aggiornamento è infatti nel frontale: la carenatura è stata ridisegnata e ora integra appendici aerodinamiche di nuova concezione, i gruppi ottici sono più compatti rispetto al passato mentre la presa d’aria è riposizionata. Il cupolino è poi stato ridisegnato per ridurre la resistenza aerodinamica. Il motore resta il collaudato quattro cilindri in linea di 998 cm³, che ora ottiene l’omologazione Euro 5+, senza – a detta di Kawasaki – perdere nulla in termini di prestazioni (non ancora dichiarate dalla Casa). Sul fronte della ciclistica non ci sono stravolgimenti: viene infatti confermato il telaio a doppio trave in alluminio pressofuso con forcellone bibraccio. Le sospensioni Showa (BFF all’anteriore e BFRC Lite al posteriore), sviluppate in collaborazione con la sezione racing di Kawasaki, ricevono tarature ottimizzate per la guida tra i cordoli. Sia per la 10R che per la più sportiva 10RR arriva di serie l’ammortizzatore di sterzo elettronico Öhlins a doppio tubo, utile per garantire la massima stabilità nelle staccate più violente e alle massime velocità . Per tutte le informazioni, cliccate qui.
La KLE500 di Kawasaki è il modello che segna il ritorno della Casa di Akashi nel segmento delle crossover-adventure di media cilindrata, una fascia di mercato molto combattuta e ricca di proposte.
Nasce per un utilizzo strada/fuoristrada e a spingerla c’è il motore bicilindrico parallelo di 451 cm³ e 45,4 CV (ok quindi per la patente A2) che abbiamo già avuto modo di apprezzare su Z500, Ninja 500 ed Eliminator. Dotato di raffreddamento a liquido e distribuzione bialbero, è abbinato a un cambio a sei rapporti, gestito da una frizione servoassistita con antisaltellamento, che evita i bloccaggi della ruota posteriore se si scala marcia troppo velocemente. Il telaio è a traliccio in acciaio, sostenuto da una forcella a steli rovesciati di 41 mm non regolabile e da un monoammortizzatore collegato al forcellone tramite un leveraggio Uni-Track. L’escursione concessa è rispettivamente di 210 mm per la ruota davanti e di 196 mm per quella dietro. Il serbatoio ha una capienza di 16 litri, che dovrebbero essere sufficienti per concedere una discreta autonomia, mentre il peso dichiarato in ordine di marcia è di 194 kg. Sarà disponibile nelle concessionarie nei primi mesi del 2026 in due versioni: Standard o SE. I prezzi sono rispettivamente 6.390 euro e 6.990 euro. Per tutte le caratteristiche vi rimandiamo al nostro articolo dedicato.
La moto risponde bruscamente alle aperture del gas e il piacere di guida svanisce. Avete mai sentito parlare di questo fastidioso fenomeno? Vediamo di che si tratta, quali sono le cause e quali i rimedi
L'avvento dell'iniezione elettronica ha rivoluzionato il modo in cui le moto erogano potenza. Tuttavia questa tecnologia ha portato con sé un fenomeno fastidioso che, per quanto sia stato mitigato rispetto ai suoi albori, è possibile riscontrare talvolta ancora oggi: l'effetto on-off. In molti sapranno già di che si tratta, ma anche per chi fosse digiuno del concetto, è facile ricorrere all’immaginazione: pensate di aprire delicatamente il gas e, invece di sentire una progressiva accelerazione, il motore risponde bruscamente, proprio come se avesse un “interruttore†al posto dell'acceleratore.
BMW K100 (1983): la prima moto di serie dotata di iniezione elettronica. In questo caso una Bosch L-Jetronic...
Le cause principali di questo comportamento sono in breve legate alla complessità dei sistemi di iniezione elettronica. La centralina - il "cervello" della moto - gestisce infatti l'iniezione del carburante in base a una serie di parametri ma, se questi parametri non sono ottimizzati o se i sensori che li rilevano sono difettosi, l'erogazione potrebbe diventare irregolare. Un esempio classico ci porta al cosiddetto TPS (Throttle Position Sensor) che rileva la posizione della valvola a farfalla. Se questo sensore fondamentale non funziona correttamente, la centralina riceve informazioni errate circa l’afflusso di aria nei condotti di aspirazione e in tutta risposta… inietta una quantità di carburante inappropriata. A scagionare invece il sensore di posizione, nel caso di un'aspirazione con condotti multipli (quindi moto pluricilindriche) potrebbe essere proprio la mancata sincronizzazione dei corpi farfallati i quali, aprendosi in tempi diversi, potrebbero causare scompensi nell'erogazione. Altro fattore cruciale è poi la taratura degli iniettori. Pensiamo agli iniettori come fossero dei “dosatori†di carburante nebulizzato, la cui apertura è temporizzata ciclicamente: se questi non spruzzano la necessaria quantità di carburante nel momento corretto, si possono creare dei vuoti di potenza, percepiti dal pilota come degli scatti. Da ultimo, la qualità del carburante e un anticipo di accensione non corretto (in termini spicci: lo scoccare della scintilla in relazione alla posizione del pistone) possono anch'essi influenzare la combustione e contribuire all'effetto on-off. Un carburante di bassa qualità può contenere impurità che ostruiscono gli iniettori o alterano la miscela aria-carburante. Così come un anticipo di accensione eccessivo può invece provocare una combustione precoce, generando picchi di pressione che si traducono in una erogazione irregolare.
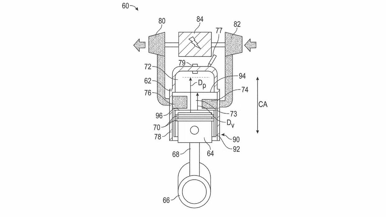
Funzionamento schematico di un sistema a iniezione diretta, in cui l'iniettore agisce direttamente sulla camera di scoppio (photo courtesy Bosch)
Ci stiamo riferendo, come avrete immaginato, a moto prettamente di serie: apportare modifiche (specie a scarico e aspirazione) potrebbe di per sé cambiare, anche in peggio, la risposta del nostro propulsore. In tal caso toccherà sicuramente lavorare di elettronica per compensare il “misfattoâ€, ma a questo arriveremo dopo…
È infine importante precisare come le case motociclistiche abbiano comunque fatto notevoli progressi nella risoluzione dell'effetto on-off, grazie a sensori più precisi, mappe di iniezione più sofisticate e sistemi come il Ride by Wire, che elimina il collegamento meccanico tra la manopola del gas e la valvola a farfalla. Grossolanamente, potremmo dire che le moto post 2015 offrono un'erogazione della potenza più fluida e progressiva. Ma non sono mancate nel frattempo eccezioni…
Con i carburatori - prima dell'avvento dell'iniezione elettronica - l'alimentazione era totalmente meccanica e sfruttava principi fisici quali depressione ed emulsione. Un sistema complesso, perfezionato nel tempo, talvolta impreciso... ma esente dall'effetto on-off
Oltre a rendere la guida meno piacevole, un'erogazione della potenza così brusca ha un impatto significativo che, in determinate condizioni, può arrivare a compromettere la sicurezza. Senza scomodare “casi limiteâ€, un'accelerazione improvvisa può infatti provocare slittamenti della ruota posteriore soprattutto su fondi scivolosi o con pneumatici usurati. Inoltre, la necessità di dosare continuamente l'acceleratore può complicare (non di poco) la gestione del mezzo in alcuni frangenti cruciali della guida, quali l’uscita di curva, specie dove il motore è mantenuto "in coppia".
Anzitutto è fondamentale verificare, tramite diagnosi computerizzata, che la mappatura della centralina segua gli standard previsti dalla casa, che tutti i sensori siano correttamente calibrati (inclusi il famigerato TPS) e che non presentino anomalie. Non è da escludere inoltre la necessità di:
sincronizzare il corpo farfallato
verificare timing e portata degli iniettori
regolare l'anticipo di accensione
L'utilizzo di un carburante di alta qualità è poi un ulteriore elemento per assicurare una buona combustione. Nel caso però in cui tutto risulti “in ordineâ€, allora occorre prevedere soluzioni alternative per mitigare o eliminare l'effetto on-off: la più efficace è la rimappatura della centralina nell’ottica di una sua ottimizzazione. Per dirla con più precisione, supponendo che il setting previsto dalla casa madre sia quello migliore possibile, potrebbe essere necessario “ingrassare†la carburazione standard, sacrificando leggermente emissioni e performance, ma migliorando l’erogazione.

Una mappatura "dinamica" su bancoa a rulli, eseguita su BMW R1200
Le raccomandazioni da tenere a mente sono sempre le solite e riguardano la corretta conservazione della vostra moto, ma è bene non darle mai per scontate…
La casa austriaca fini a gambe all'aria 30 anni fa, allora fu salvata da Stefan Pierer che l'ha portata ad essere il maggior costruttore europeo e poi di nuovo al fallimento
KTM ha vissuto nel 2025 una fase di grave crisi che si è risolta con l'acquisto da parte degli indiani di Bajaj, non è la prima tempesta che la casa austriaca attraversa nella sua storia quasi centenaria: già nel 1991 era stata dichiarata fallita.
Anno 1934, Mattighofen, Austria: l’ingegnere Hans Trunkenpolz apre la sua officina di manutenzione e riparazione per auto e moto. Nel 1951, il tecnico austriaco si cimenta prima nella progettazione e realizzazione di una bicicletta sportiva, quindi di una moto leggera. Si chiama R100 e ha una cilindrata di 98 cm3. A questo punto la strada di Trunkepolz incrocia quella di Ernst Kronreif, che si offre di amministrare l’azienda: nasce a questo punto la KTM, acronimo di Kronreif (Und) Trunkenpolz Mattighofen. Il primo internazionale arriva alla Sei Giorni del 1956, con una 125 e nel giro di vent'anni la casa austriaca ha in catalogo più di 40 modelli. Nel 1974 il russo Guennady Moiseev si laurea campione del mondo motocross nella duemmezzo, è il primo alloro iridato della casa austriaca.
Nel nostro Paese le fortune di KTM si uniscono a quelle di Arnaldo Farioli, che nel 1969 vince il campionato italiano con la 125 e diventa importatore. Bergamo diventa la “capitale†italiana del marchio austriaco e nel primo anno di attività Farioli riesce a vendere più di 300 moto: le enduro austriache diventano l'oggetto dei desideri dei piloti nostrani e più in generale degli appassionati del tassello.
Nei primi anni ’80 le KTM sono tra le prime off-road ad adottare il raffreddamento a liquido e i freni a disco anteriori e posteriori, la casa si afferma come uno dei marchi più innovativi. Nel 1987 arriva un altro cambiamento epocale: l’introduzione dei motori a quattro tempi, mentre viene interrotta definitivamente la produzione di ciclomotori e scooter, in contemporanea alle prime difficoltà finanziare. La situazione sembra migliorare nel 1987 con la trasformazione di KTM in società per azioni e l’arrivo di nuovi capitali, nel 1989 la famiglia Trunkenpolz – dopo la morte del fondatore- cede la proprietà alla GIT Trust Holding, guidata dall'ex politico austriaco Josef Taus. Di nuovo le biciclette giocano un ruolo importante nella storia del marchio: si punta quasi tutto sul settore (unitamente ai radiatori), ma le perdite finanziarie sono ingenti e il fondo è costretto a chiedere la liquidazione della società nel dicembre del 1991 con per un buco equivalente a 70 milioni di euro.
Le banche decidono di dividere le quattro linee di business – moto, biciclette, utensili e radiatori – in quattro aziende separate. Per questo le bici KTM non hanno più niente a che vedere con KTM Sportmotorcycle GmbH se non, per l’appunto, il logo. La divisione motori viene acquisita nel 1992 da un giovane ingegnere – all'epoca 32enne- Stefan Pierer.
Il rilancio passa attraverso un motore che diventerà storico: la sigla è LC4, la moto che segna la rinascita è la Duke 620, nel 1994. Nel 1996 le KTM iniziano a essere “colorate†di arancione. La scelta spetta a Gerald Kisha, socio di Pierer, che vuole rinnovare profondamente il marchio anche nell'immagine. Si decide di puntare sulle corse, sull'aggressività , su linee moderne e scelte tecniche coraggiose. Come per i marchi giapponesi, fedeli nell'off-road a un determinato colore, anche in KTM si vuole puntare a una identità precisa, simobolizzata dal colore arancio.
A fine anni '90, si affianca al motore LC4 il bicilindrico LC8, reso celebre dal trionfo alla Dakar di Fabrizio Meoni, con la neonata 950. KTM vincerà il più importante rally del pianeta dal 2001 al 2019, senza soluzione di continuità . Nel frattempo arrivano anche i titoli nel motocross: nel 1996 il primo mondiale della nuova gestione (Shayne King, 125), primo alloro dall'ultimo successo dell'americano Trampas Parker nel 1989, dal 2000 in poi Mattighofen diventa il marchio di riferimento. Nel 2010, ancora una volta, c'è un italiano di successo a incrociare la propria storia con quella di KTM: Antonio Cairoli vince il mondiale MX1 con la SX-F 350, ne conquisterà altri 5 con il marchio austriaco.
Gli ultimi 15 anni di KTM sono segnati anche da numerose acquisizioni, quasi tutte di marchi “sovrapponibili†al brand austriaco. Dopo che nel 1995 Pierer aveva acquisito Husaberg, nel 2013 compra Husqvarna da BMW, nel 2019 Gas Gas. Nel 2022 infine entra in MV Agusta, primo marchio decisamente orientato alla strada. Nel frattempo KTM ha fatto il suo ingresso anche in MotoGP: tanti i soldi spesi, pochi i risultati. Al 2024 nessun mondiale vinto in 8 anni di attività , successi nei gp che si contano sulla punta delle dita di due mani. Va decisamente meglio nelle categorie minori, con oltre 15 titoli conquistati tra mondiali piloti, costruttori (anche con marchi associati) e team.
Nel 2023 sorgono nuovi problemi, ancora una volta legati al mercato bici: Pierer, che possiede già il brand Raymon, decide di acquisire Felt, un marchio statunitense. Inoltre, dal momento che non può usare il marchio KTM sulle bici, sviluppa e-bike a marchio Husqvarna e GASGAS. Viene costruita una fabbrica-magazzino in Bulgaria che costa da sola 40 milioni di euro e stabilimenti in Colombia, Brasile, Argentina, Filippine. L'attività sportiva come sempre supporta l'immagine del marchio con ingenti spese. Il venduto è incoraggiante: oltre 150mila bici, ma quando il mercato si satura i magazzini traboccano di invenduto. Pierer cede sia Raymon che Felt, restano soltanto le e-bike Husqvarna e GASGAS. Anche sul fronte moto le cose non vanno meglio perché l'invenduto nei magazzini della casa è di 265.000 pezzi. La procedura fallimentare porta a sacrificare MV Agusta e parte dell'attività sportiva e alla fine arrivano gli indiani a salvare la casa austriaca.
Con un budget limitato a soli 5000 € sul mercato delle moto d’epoca si può trovare qualcosa di interessante pure tra le maxi moto, anche se bisogna diffidare dei prezzi troppo stracciati … Ecco qualche buona idea
Si resta quasi sorpresi nello scoprire che anche con un budget limitato a soli 5000 €, nel mercato delle moto d’epoca si può trovare qualcosa di interessante pure tra le maxi moto. Molto meno che nei segmenti delle piccole e medie cilindrate naturalmente, perché il prezzo d’acquisto originale ha comunque una certa influenza su quello dell’usato. Qualcosa di interessante comunque si può trovare.
Attenzione alle occasioni troppo ghiotte però: se il prezzo è troppo basso c’è il rischio che siano necessari grossi lavori per ripristinare la moto, e le cifre possono lievitare parecchio. Soprattutto se la scelta è caduta su una quattro cilindri, bella finché si vuole ma complessa e composta da un elevato numero di pezzi. Attenzione anche alla disponibilità di ricambi, sebbene questo sia un problema che riguarda tutte le cilindrate.
D’altro canto ci sono alcuni modelli che si sono notevolmente deprezzati, per l’arrivo di versioni più aggiornate o per quegli strani meccanismi di questo particolarissimo settore, per cui una moto rarissima può avere un notevole valore e un’altra, anch’essa prodotta in piccoli numeri, può non valere niente. Spesso a fare la differenza è la storia che c’è dietro a un modello, ma i criteri sono tutt’altro che rigorosi: a mo’ di esempio, la Ducati 125 quattro cilindri da Gran Premio degli anni ‘50 non ha mai corso e non ha una storia, quindi è solo un prototipo come un altro, ma quando la collezione Morbidelli di cui faceva parte venne messa all’asta, il prezzo di partenza era elevatissimo. Ma non sono questi vostri problemi: qui cerchiamo piuttosto di vedere quali moto di grossa cilindrata si possono comperare per quattro soldi, e poi usarle tranquillamente su strada, assaporando sensazioni dei bei tempi andati.
L’alternativa per antonomasia alla Suzuki SV 650: una moto piacevole nell’aspetto, economica e facile da guidare. Solo, con minore personalità della rivale a causa del suo motore bicilindrico parallelo dall’erogazione talmente lineare che non trasmette forti emozioni. È stata in produzione dal 2005 al 2016 nelle versioni “fâ€, carenata (qui sopra), e “nâ€, naked (qui sotto). Il telaio è in tubi di acciaio al cromo molibdeno ed ha una struttura a diamante, ma nel 2019 è stato sostituito da una struttura a doppia trave perimetrale; vista la giovane età però quest’ultima non è più una moto d’epoca. Le sospensioni seguono schemi collaudati: forcella telescopica con steli di 41 mm Ø e sospensione posteriore con un solo ammortizzatore sul lato destro, senza leveraggi. I tre dischi freno sono a margherita, soluzione cara alla Casa di Akashi, mentre le ruote sono di 17â€.
Il motore bicilindrico parallelo a quattro tempi di 649 cm³ ha uno schema convenzionale ma il cambio a sei marce è estraibile come sulle moto da corsa, e la marmitta catalitica è tutta sotto il motore, soluzione che permesso di abbassare il baricentro. Ci sono 72 CV (53 kW) all’albero per una velocità massima di circa 205 km/h.
Leggera e maneggevole, è una moto alla portata di tutti, agile e sincera nelle reazioni. Nel 2009 ha visto modificati la strumentazione e il codino, più profondo il restyling del 2012 sia a livello estetico, sia con l’introduzione del nuovo telaio a doppio trave.

La GS è la GS ed ha sempre un certo blasone, ma non sono tutte uguali e non lo sono nemmeno le quotazioni. L’ultima versione o anche una delle primissime, soprattutto se nell’edizione Paris - Dakar, costano un occhio della testa. Molto più abbordabile questo modello prodotto dal 1994 al 1999, che conserva l’aria imperiale di una GS ma non costa come i gioielli della corona. È stato il primo di questa famiglia a utilizzare il motore raffreddato ad aria e olio, naturalmente sempre bicilindrico contrapposto con trasmissione finale a cardano, mentre quelli precedenti avevano il motore della vecchia generazione, raffreddato ad aria soltanto. Questo ha 80 CV (59 kW) a 6750 giri/minuto e una coppia di 9,8 kgm (97 Nm) a 5250 giri/minuto.
Le sospensioni sono quelle che da lunghissimo tempo caratterizzano l’ammiraglia della Casa bavarese: Telelever anteriore e Paralever posteriore.

È una gran bella moto da usare su strada, caratterizzata da grande stabilità e un motore che “tira†sempre ed ha cavalli anche in alto. La prima serie è stata prodotta dal 1988 al 1998 ed ha forme tondeggianti caratteristiche di quegli anni. La 900 montava un motore bicilindrico a L due valvole di 904 cm³ derivato dalla serie Pantah, con cambio a sei rapporti; venne affiancata dalla 750 SuperSport, più economica, che invece aveva il motore della Paso 750 con cambio a cinque rapporti e all’anteriore un solo disco freno. La seconda serie. (qui sotto), lanciata nel 1998, manteneva più o meno le stesse caratteristiche ma era stata sottoposta a un profondo restyling ad opera di Pierre Terblanche: arrivarono una nuova carenatura che somigliava parecchio a quella della Ducati Supermono corsa e venne introdotta l’iniezione elettronica al posto dei carburatori. La SS era disponibile sia con la carenatura completa che con la semicarenatura, con il motore di 750 cm³ oppure con la più apprezzata versione di 900 cm³; entrambe rimasero in produzione fino al 2003, quando la gamma fu rimodulata e le nuove 620, 800 e 1000 cm³ sostituirono le 900 e 750.


La Honda produsse la VF 750 F dal 1983 al 1985, e verso la fine di una onorata carriera vi sovrappose la VF 1000 F che manteneva la stessa struttura generale e le stesse caratteristiche ma si poneva un gradino più in alto per quello che riguarda le prestazioni. Alla versione di minore cilindrata somigliava parecchio, sia esteticamente che tecnicamente. Semi carenatura e puntale, manubrio rialzato e una sagoma sottile grazie al motore quattro cilindri a V da cui prendeva il nome, “V-Fourâ€. Le due bancate avevano un angolo di 90°, il raffreddamento era a liquido, la distribuzione era doppio albero a camme in testa con quattro valvole per cilindro e le misure di alesaggio e corsa superquadre, 77 x 53,6 mm. La frizione era a comando idraulico. Una moto all’avanguardia nel motore e nella ciclistica, con un bel telaio a doppia culla in tubi quadri e la sospensione posteriore monoammortizzatore. Veniva proposta nelle versioni VF 1000, VF 1000 F e la sportivissima VF 1000 R.

Il primo modello, quello del 1982, aveva il manubrio alto, un piccolo cupolino e la sospensione posteriore a due ammortizzatori, ma quella che fece la storia fu la versione dell’anno dopo, con la semi carenatura, il manubrio basso e la sospensione posteriore Uni-Track. Vennero modificate anche la geometria di sterzo e il motore, dotato di alberi a camme con maggiori alzate e carburatori Mikuni di 34 mm Ø, differenti camere di combustione e radiatore dell’olio. Era una delle sportive più in voga in quel momento e ottenne risultati significativi nelle gare per moto di serie, guadagnandosi una fama lusinghiera. In quel momento tutte le Case giapponesi stavano realizzando moto sovralimentate ed è su quella stessa base che la Kawasaki realizzò la versione con turbocompressore. La GPZ 750 R aveva 98 CV a 10.000 giri/minuto, la Turbo arrivava a 112 CV a 9000 giri/minuto. Quest’ultima non ebbe un gran successo, poco trattabile come lo erano tutte le turbo dell’epoca, ma se anche ne trovaste una il prezzo sarà molto superiore ai 5000 € del nostro budget.

Quando la Suzuki presentò questa endurona suscitò un certo scalpore perché la spingeva il monocilindrico più grosso mai andato in produzione fino a quel momento, primato che mantiene tuttora. Di qui il nome “Bigâ€. Era il 1988 e la cilindrata era 750 cm³, poi nel 1990 diventò addirittura 779 cm³. C’era il boom di questo segmento ma la DR 800, ultima di una famiglia nella quale si erano succedute le DR 400, 600, 650 e 750, si distingueva ugualmente dalla massa. Aveva forme muscolose – il maxi serbatoio poteva contenere 29 litri di carburante, per un’autonomia dell’ordine di 450 km – ma azzeccate, e il suo “becco†sotto il fanale anteriore era destinato a fare scuola, ancora oggi impiegato su moltissime crossover. Il telaio era a doppia culla in tubi di acciaio a sezione quadrata, con la sospensione posteriore monoammortizzatore.
La particolarità però era il motore, con le sue gigantesche misure che avevano portato a scelte tecniche originali: aveva la distribuzione monoalbero con quattro valvole e un sistema a doppia accensione elettronica a transistor con due candele, era alimentato da due carburatori Mikuni eeper contenere le forti vibrazioni era dotato di due contralberi di equilibratura. Nella versione di maggior cilindrata disponeva di 54 CV a 6600 giri/minuto e di una coppia di 59 Nm a 5400 giri/minuto.

Fu la prima a introdurre il concetto di crossover anche se quando arrivò, nel 1991, questa parola non si usava ancora. Una moto stradale che poteva concedersi qualche uscita in fuoristrada leggero stuzzicò la fantasia di molti, necessitò di un po’ di tempo per sfondare ma già al secondo anno fu un successo. Aveva una silhouette piuttosto originale ma azzeccata e montava un bicilindrico parallelo a quattro tempi con cinque valvole per cilindro, raffreddamento a liquido e cambio a cinque marce. Il telaio era a doppio trave in alluminio. Nel 1996 il primo notevole cambiamento con l’adozione di un nuovo telaio, nuova silhouette e un motore profondamente rivisto nel quale la fasatura degli scoppi era stata portata a 270° per incrementare la coppia. Aveva 78 CV a 7500 giri/minuto e 8,1 kgm a 6000 giri/minuto, il cambio era a cinque marce. Nel 2002 la cilindrata passò a 897 cm³, l’alimentazione divenne a iniezione elettronica e cambiò nuovamente il design, aggiornato con linee più moderne. Rivista più volte in numerosi dettagli nel corso degli anni, è rimasta in gamma fino al 2014, quando è uscita dal listino per essere sostituita dalla Tracer 900.
Usare ogni giorno la moto o lo scooter, anche solo per il tragitto casa-lavoro, fa fare "ginnastica" al cervello e mantiene in forma anche il corpo. Lo ha scoperto un gruppo di ricercatori giapponesi
Siete stufi di sentirvi dire che "la moto è pericolosa" da amici, parenti e conoscenti occasionali? Inutile rispondere che è un modo di muoversi più pratico ed economico dell'auto (molti italiani lo hanno capito) o peggio ancora parlare di passione: in genere, chi spara sentenze di questo tipo non è mai salito in moto e non potrebbe capire. Ma adesso abbiamo finalmente un argomento forte per rispondere, e arriva da una fonte al di sopra di ogni sospetto: alcuni anni fa il team di ricercatori che ha sviluppato Brain Training (il famoso gioco per Nintendo DS che "allena la mente") ha scoperto che andare in moto o in scooter è un formidabile esercizio per il cervello e ha anche benefici effetti sul corpo!
Con una serie di esperimenti su un campione di uomini di mezza età , il team di ricercatori guidato da Ryuta Kawashima (unico "vero" motociclista del gruppo e ispiratore del test) ha verificato scientificamente che utilizzare regolarmente la moto apporta benefici reali sia dal punto di vista della reattività cognitiva sia dal punti di vista dell’attenzione. Per dimostrarlo hanno riunito un gruppo eterogeneo di uomini che sapessero guidare la moto, ma non ne avessero più guidata alcuna negli ultimi dieci anni. La metà di queste persone nei due mesi successivi ha potuto utilizzare per i propri spostamenti solo la moto; gli altri (il cosiddetto "gruppo di controllo") hanno invece continuato a utilizzare i mezzi abituali (auto e bicicletta).
Dopo due mesi, le persone che hanno utilizzato solo la moto hanno manifestato una capacità cognitiva superiore del 50% a quella del gruppo di controllo. Per la precisione, hanno dimostrato una maggiore memoria e una migliore elasticità mentale. In più, i "biker di ritorno†hanno manifestato una maggiore attenzione sul lavoro e uno stato di maggiore benessere generale. Il motivo, secondo i ricercatori, è da attribuirsi al fatto che guidare una moto è più faticoso di guidare qualsiasi altro mezzo di trasporto. Questa fatica nel corso del tempo si trasforma in allenamento mentale e psicofisico: i risultati si sentono nella vita di tutti i giorni.
Fin qui l'esperimento del gruppo di Brain Training, ma c'è anche altro. C'è chi sostiene che andare in moto avrebbe effetti positivi persino sulla vita dei diabetici cronici: l'esercizio fisico continuio e poco stressante di chi va in moto equivale all'esercizio che si fa in palestra, riducendo i dosaggi di insulina necessari per condurre una vita normale. Attenzione: per viaggiare sicuri, meglio avere sempre a portata di mano qualcosa da mangiare, per evitare problemi di ipoglicemia. Ma in ogni caso si sta meglio.
E quindi... tutti in moto!
I maxi 400 sono comodi, veloci e pratici. Ecco la guida completa per scegliere il modello giusto per le proprie esigenze
Il mercato degli scooter è in grado di soddisfare ogni genere di esigenza, dai piccoli ciclomotori fino ai maxi bicilindrici (qui la guida completa), passando anche dai comodi 150. Oltre ai midi, tra le categorie di mezzo si inserisce a gamba tesa anche quella dei 400: scooter performanti (le potenze sono nell'intorno dei 30-35 CV), pratici e completi di tutte le comodità . Oggi l'offerta è composta da 8 modelli, che vi presentiamo analizzandone pregi e difetti di ognuno.

Più protettivo rispetto al fratello "sportivo" X, il C 400 GT ha la sella bassa (77,5 cm), il vano con luce di cortesia e il sistema a soffietto che, da fermi, raddoppia la capacità di carico. Il motore monocilindrico di 350 cm3 a quattro valvole e 34 CV di potenza ha un'erogazione vigorosa. di serie ci sono l'acceleratore ride-by-wire, il controllo di trazione e il sistema di accensione Smart Key. L'impianto frenante ha tre dischi. In sella si sta comodi e le pedane profonde permettono di allungare le gambe (leggete qui la nostra prova). In movimento è bilanciato e sicuro, ma l'angolo di sterzo non è elevato. Carena e parabrezza proteggono bene. Ottima la frenata offerta dai due dischi anteriori. Con il pacchetto Comfort (420 euro) le manopole e la sella sono riscaldate. Prezzo da 8.600 euro per la versione più elegante, la GT, e da 7.550 euro per la X.

Questo scooter giapponese sfoggia linee moderne e dotazioni lussuose. Le pedane sono strette per il grosso tunnel centrale, ma la posizione di guida è comoda, con sella e manubrio alla giusta distanza. Anche il passeggero ha una seduta ampia, pedane alla giusta altezza e maniglioni solidi. La dotazione include cruscotto con display LCD, presa USB-C, smart key, parabrezza elettrico, fari a LED, indicatori di direzione che lampeggiano durante le frenata d’emergenza e controllo di trazione. La versione Deluxe (7.090 euro) offre connessione al cellulare e bauletto da 50 litri. Prezzo di partenza è da 6.390 euro. In strada è maneggevole, se volete saperne di più lo abbiamo provato: imposta le curve in un attimo e si infila facilmente tra le auto. Il motore da 29,2 CV è brillante, risponde velocemente ai comandi del gas e vibra poco. Ottima la precisione in velocità . Le sospensioni sono efficaci e assorbono bene, la frenata è sempre dosabile.

La versione S del Xciting offre spazio in abbondanza per pilota e passeggero, ha la forcella a doppia piastra e ruota anteriore da 15†con doppio disco da 280 mm e pinze radiali. La sella offre anche lo schienalino per il pilota; il vano può accogliere un casco integrale e altri oggetti. Di serie controllo di trazione e parabrezza regolabile (5 livelli). La posizione di guida è comoda, la sella ampia e le pedane profonde. Il peso si sente solo in manovra, le sospensioni sono rigide. La base tecnica è condivisa con il VS 400 (in foto qui sopra): la sesta generazione di questo scooter adotta uno stile sportivo e sfoggia una dotazione ricca. Il manubrio a “V†migliora la precisione di guida e la visibilità del cruscotto. I fari DRL permettono di farsi vedere bene di giorno, mentre il motore da 400 cm3, con 33,9 CV e 37,5 Nm, è lo stesso dell’Xciting S: potente ma fluido e silenzioso. Buona la protezione dall’aria, curate le finiture. I prezzi sono rispettivamente 7.290 euro per l'S e 7.390 euro per il VS.

Questo modello francese si ispira alle crossover: ha gomme semitassellate e sospensioni con escursione maggiorata (140 mm per la forcella a steli rovesciati) per affrontare gli sterrati leggeri. Nel sottosella ci sta un casco integrale e altri oggetti nel secondo pozzetto. Il motore ha 36,7 CV e la strumentazione ha uno schermo a colori da 5†che si connette al cellulare. Di serie ci sono controllo di trazione, presa USB, smart key e parabrezza regolabile. L’impianto frenante ha tre dischi, pinze radiali sistema combinato e ABS. Due le versioni: GT con gomme tassellate e ruote a raggi (7.799 euro) e Allure con gomme e ruote stradali (7.499 euro). La posizione di guida è comoda e la sella ben sagomata consente di poggiare i piedi a terra con sicurezza. Lo spazio per le ginocchia è buono. Il motore ha un’erogazione regolare ma non spicca per spunto e ripresa, la ciclistica è precisa. Leggete qui la prova completa.

Arrivato alla sua terza generazione, il Beverly ha un aspetto sportivo con lo scudo ampio che termina con un piccolo parabrezza, luci full led e un posteriore compatto affiancato da una vistosa marmitta. Il monocilindrico 400 hpe 4 valvole raffreddato a liquido ha prestazioni interessanti (35,4 CV), ma i consumi sono buoni. Ok la ciclistica con sospensioni Showa, la sella è comoda e le pedane ampie. Di serie smart key, parabrezza, presa USB e display da 5,5†che si connette al cellulare con l’app Piaggio MIA. Tre le versioni: “base†(6.599 euro) , “S†(6.699 euro) e Deep Black con finiture in nero (6.699 euro). La posizione in sella è comoda, ma l’altezza da terra (82 cm) rende impegnative le manovre da fermo (qui il nostro test). Il motore spinge forte e ha una ripresa decisa, basta aprire il gas per effettuare qualsiasi sorpasso in sicurezza. Ottimo, il lavoro della ciclistica, la tenuta di strada è impeccabile; discreta la maneggevolezza. Nel traffico se la cava bene, ma il monocilindrico 400 a bassa velocità vibra un po’.

Il mitico Burgman non costa poco (7.990 euro) ma è uno dei più comodi, ha la sella bassa (75,5 cm) e offre tanto spazio. Molto buona la capacità di carico: sotto la sella ci stanno un integrale e un jet; dietro lo scudo ci sono due vani profondi con presa da 12 V. Il motore da 29 CV spinge con decisione e ai bassi è sempre pronto. Preciso e svelto nel misto, ha una frenata buona e il controllo di trazione migliora la sicurezza. Ottima la maneggevolezza nel traffico e il comfort sulle buche, se volete saperne di più cliccate qui.

Compatto e dalle linee sportive, il Maxsym offre una discreta protezione grazie al parabrezza regolabile senza l’uso di attrezzi. Ha luci a LED, l’avviamento keyless, la presa USB-C, il controllo di trazione e la sella ampia con schienalino per il pilota: il sottosella accoglie un casco integrale e un jet. Il motore 4 valvole da 399 cm3 da 34 CV spinge forte da subito. Tra le curve è maneggevole ed è stabile sul veloce, mentre la frenata piace tanto per potenza e feeling. Costa 6.999 euro.

Ha finiture curate e dettagli di qualità . La sella è spaziosa, così come il sottosella che può contenere un casco integrale e un jet. La dotazione di serie include due vani dietro lo scudo con prese USB e 12V, avviamento keyless, display da 7†con connessione al cellulare, luci cornering, indicatore della pressione pneumatici, controllo di trazione e telecamera frontale attivabile dal manubrio. Il motore è un monocilindrico da 350 cm³, 34 CV e 30 Nm di coppia, con contralbero di equilibratura per contrastare le vibrazioni. Il telaio è in tubi di acciaio con forcellone in alluminio e i freni agiscono su 3 dischi da 265 mm. La sella è un po’ dura, lo spazio per le gambe abbondante, il pilota ha anche il poggiaschiena. La maneggevolezza è buona, così come la stabilità (qui trovate la nostra prova). Le sospensioni piacciono sulle buche e la frenata convince. Prezzo 5.990 euro.